400 series Remote fan unitAR401142
AR401142
Check appliance compatibility
How to find your E-Number
The model number (E-number) is located on the type plate of your device.
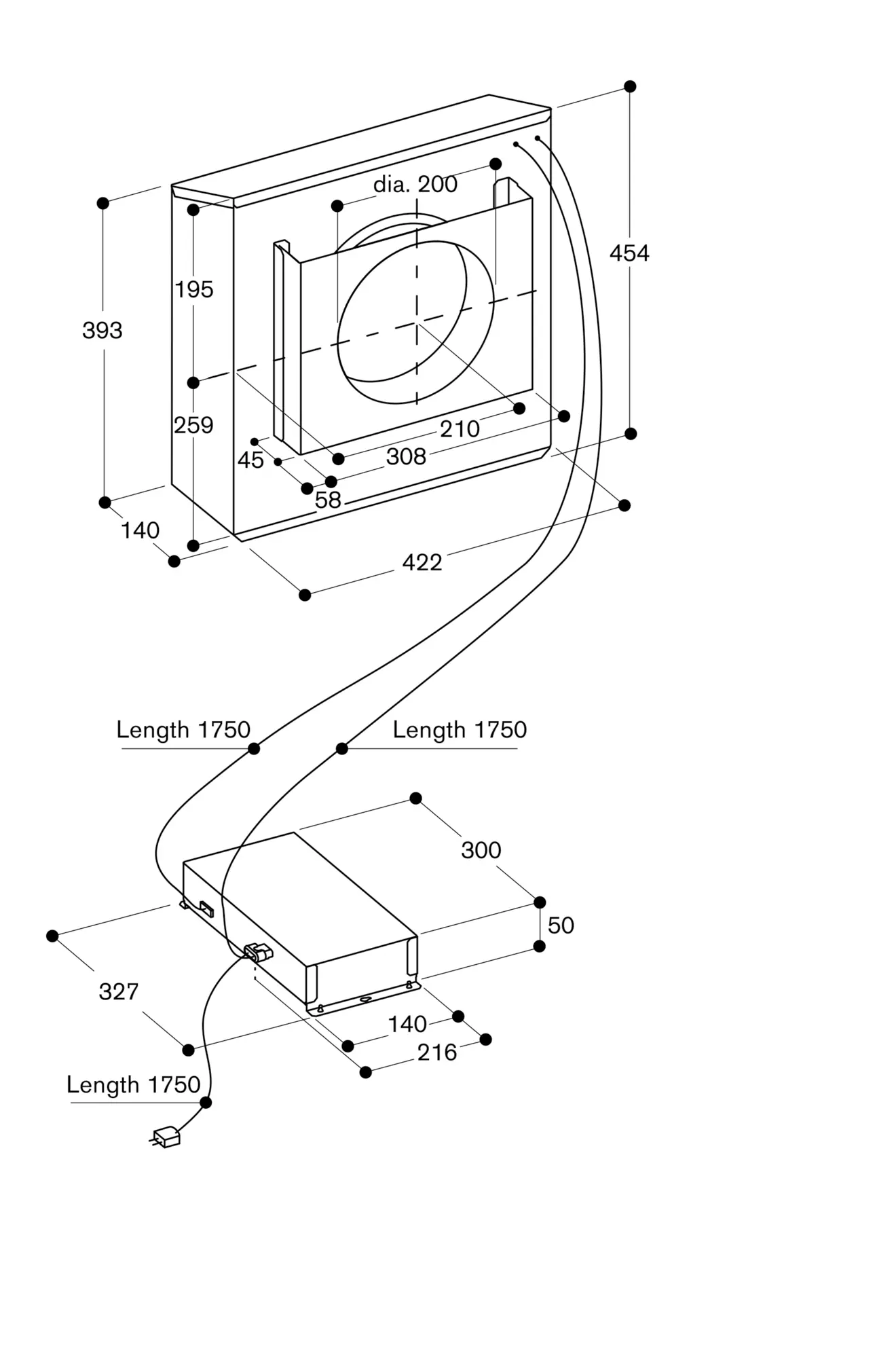
Specifications
Efficient BLDC technology
Powerful remote fan unit to combine with motorless appliances
Sound power level depends on the built-in situation.
3 electronically controlled power levels and one intensive mode.
Fan technology with highly efficient, brushless DC motor (BLDC).
Including sound insulation to minimise the noise level.
Stainless steel housing.
Pipe connection pieces on intake side: 1x DN 200 round.
Retaining bracket for installation on an outside wall enclosed.
Connection to the respective appliances via network cable.
Installation in an exterior area allows for a reduced noise level in the kitchen
Installation on an outside wall.
Control box must be installed indoors.
Acceptable temperature range for installation of the control box: -25 to 60 °C.
Distance for free air space from ground (or other object) to center of the pipe: min 60 cm
When installing a ventilation hood with air extraction mode and a chimney-vented fireplace, the power supply line of the ventilation appliance needs a suitable safety switch.
Total connected load 180 W.
Connecting cable 1.8 m, pluggable.
Network cable 5 m.



